  | 
 
 Основные требования к условиям эксплуатации Scuba, lowara.
 
  
 
  
 
  
 -  Насос должен перекачивать только чистую воду, концентрация примесей не более  25г/м³
  
 -  Температура перекачиваемой жидкости: от 0°C до +40°C.
  
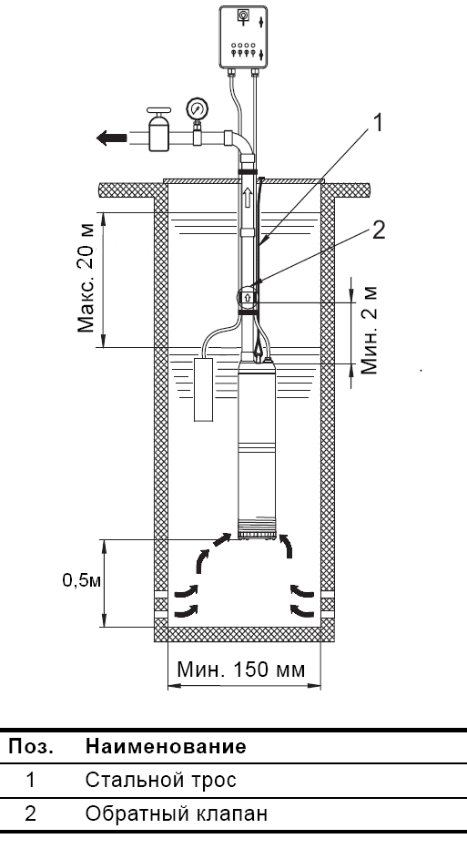
 -  Максимальная глубина погружения: 20 м.
  
 -  Требуемый диапазон отклонений от напряжения сети для погружных электродвигателей фирмы lowara , измеренного на клеммах этих электродвигателей при длительной эксплуатации, находится в пределах от –5% до  +5% от значения номинального напряжения (включая допуски в напряжении сети и потери в кабелях).
  
 -  Максимальное давление в системе: 10 бар.
  
 -  Насос не должен работать «в сухую».
  
 -  Насос не должен работать на закрытую задвижку.
  
 -  Нельзя монтировать насос подвешенным на кабеле электродвигателя.
  
 -  Максимальный диаметр суспензии (взвешенных твёрдых частиц) составляет 2,5 мм.
  
 -  Перед тем, как опустить насос в колодец или в резервуар, необходимо убедиться в отсутствии там песка и твердых включений
  
 -  При монтаже в колодце установить насос таким образом,  чтобы его всасывающая полость располагалась относительно дна колодца на высоте не менее 0,5 м.
  
 -  При монтаже в резервуар насос устанавливается на дно резервуара, запрещена работа насоса "всухую". 
  
 -  Во время эксплуатации сетчатый приемный фильтр насоса должен быть постоянно полностью погружен в перекачиваемую жидкость. 
  
 -  Максимальная частота пусков- 25 при мощности электродвигателя 0,75-0,9 кВт; 20- при мощности  1,1 кВт
  
 - Если колодезный насос снимается с эксплуатации на  длительный период времени, из него необходимо слить всю воду. 
  
 
 
 
 
 
 
 
 
  
 
 
 Рекомендуемая защита колодезного насоса Scuba,
  
 Основные контрольные параметры, необходимые при монтаже насоса, и расшифровка маркировки насосов  Scuba, lowara указаны на данных рисунках. 
 Двигатель однофазной версии обладает встроенным тепловым реле, и поэтому не нуждается в дополнительной защите. 
 Уровень отключения насоса регулируется путем изменения длины свободного конца кабеля между поплавковым выключателем и точкой фиксации этого кабеля (кабельным зажимом на рукоятке насоса), при этом необходимо обеспечить: возможность свободного перемещения поплавкового выключателя, положение уровня отключения насоса обязательно не ниже его приемного сетчатого фильтра колодезного насоса.   
Учитывая  возможные токи утечки, колодезные насосы следует подключать к сети через УЗО или дифавтомат. Достаточно большие рабочие токи на контактах реле давления, регулирующего давление включения и выключения погружого насоса, вызывают необходимость применения магнитного пускателя с силовым контактором, чтобы избежать пригорания контактов. 
Желательно также использовать автомат ограничитель-расцепитель максимального тока, подобранный или (если регулируемый) выставленный на значение на 5-10% выше номинального тока электродвигателя насоса. 
 Обратный клапан на напорной магистрали  должен быть смонтирован на расстоянии около 2м от выходного патрубка колодезного насоса. Данное расстояние считается оптимальным для обеспечения  запуска электродвигателя и предварительного засасывания жидкости. 
 
 
 
 
 
 
 
 
 
 
 
 
 
 
 
 
 
 
  
Неисправности колодезных насосов Scuba.
|
 
| Неисправность насоса | 
Причина | 
Устранение | 
 
  
| 1. Насос не работает. | 
a) Перегорели предохранители.
  
б) Сработал аварийный автомат защиты по току или по напряжению.
  
в) Отсутствует подача электропитания.
  
г) Сработал защитный автомат электродвигателя из-за перегрузки..
  
д) Повреждение насоса или электрокабеля. 
  
е) Поплавковый выключатель находится в положении, соответствующем работе насоса всухую.
   
ж) Заблокирован насос. 
  
з) Слишком низкое напряжение. 
  
и) Пусковой конденсатор слишком мал или повреждён. 
  
к) Пропадание или перекос фаз для трёхфазных версий. 
  
л) Залипание (заклинивание) торцевого уплотнения, (особенно после периода длительного бездействия насоса, например, в зимний период). 
  
м) Обрыв электрического подсоединения статора или его повреждение. 
  
н) Сломан вал насоса. 
  
о) Залипание поплавкового выключателя 
  
п) Избыточная глубина погружения насоса.  
  
 | 
а) Заменить предохранители. Если новые опять перегорают, следует проверить электросеть и  силовой электрокабель двигателя насоса. 
  
б) Снова включить аварийный автомат защиты
  
в) Связаться с соответствующим энергоснабжающим предприятием. 
  
г) Проверить, не заблокирован ли электродвигатель или насос, откалибровать выключатель цепи 
  
д) Отремонтировать или заменить насос или кабель 
  
е) Проверить уровень воды и возможность свободного перемещения поплавкового выключателя. 
  
ж) Проверить и промыть насос. 
  
з) Применить электронный стабилизатор напряжения мощностью не менее , чем в 3,5 раза больше номинальной мощности электродвигателя насоса. 
  
и) Вытянуть насос на поверхность, заменить дефектный конденсатор в специализированных мастерских. 
  
к) Проверить приходящее напряжение. 
  
л) Вытянуть насос на поверхность, снять всасывающую сетку,вручную несколько раз провернуть рабочее колесо насоса. 
  
м) Обратиться в специализированные мастерские. 
  
н) См. п. м).
  
о) Встряхнуть поплавок, заменить дефектный поплавок (см. п. м)). 
  
п) Уменьшить глубину погружения. 
  
 |  
| 2. Насос работает, но подачи воды нет. | 
а) Закрыт запорный вентиль. 
  
б) Отсутствие воды в колодце или слишком низкий ее уровень. 
  
в) Залипание обратного клапана в закрытом положении. 
  
г) Забит впускной сетчатый фильтр скважинного насоса. 
  
д) Повреждение насоса для воды.
  
е) Обратный клапан расположен слишком близко к насосу.
  
 | 
а) Категорически запрещается перекрывать кран в напорной магистрали при работающем глубинном насосе, отсекая тем самым насос от автоматики выключения, и вынуждая его работать на "закрытую задвижку". Остановить насос и плавно открыть вентиль. 
  
б) Увеличить глубину погружения насоса(макс. 10 м, для версии с поплавком), понизить производительность насоса или заменить его другим, меньшего типоразмера, у которого более низкая производительность. 
  
в)  Вытащить насос для воды нa поверхность. Промыть или заменить клапан, либо просверлить встроенный обратный клапан насоса и смонтировать новый обратный клапан на скважинном оголовке. 
  
г) Поднять насос на поверхность и промыть сетчатый фильтр и, если это необходимо, рабочее колесо 
  
д) Отремонтировать или заменить скважинный насос.
  
е) Увеличить расстояние между обратным клапаном и насосом.
  
 | 
 
 
| 3. Насос работает с пониженной производительностью. | 
а) Уровень воды понижен больше, чем предполагалось (особенно характерно для засушливого времени года). 
  
б) Неправильное направление вращения для трёхфазных версий или пониженное напряжение для однофазных.(Смена фаз может произойти без вашего ведома местными электриками)
  
в) Частично закрыты или забиты клапаны/вентили напорного трубопровода системы водоснабжения. 
  
г) Частично забит грязью (глиной) напорный трубопровод, либо диаметр его изначально заужен. 
  
д) Частично заблокирован обратный клапан насоса. 
  
е) Частично забиты грязью (глиной, меловыми отложениями или отложениями железа) водоподъёмная труба или насосная часть водяного насоса. 
  
ж) Поврежден  или насос или износ гидравлической части. 
  
з) Разгерметизирован трубопровод (характерно при использовании оцинкованной  или некачественной ПНД или полипропиленовой трубы). 
  
и) Повреждён стояк. 
  
к) Забит (если имеется) фильтр механической очистки. 
  
 | 
а)  Увеличить глубину погружения насоса (не ниже колодезного фильтра ) , выполнить 
 дросселирование в напорной магистрали (установкой ограничивающей пластины или частичным перекрытием запорного вентиля- шаровые краны не применять!! ) или заменить насос другим, меньшего типоразмера, у которого более низкая производительность. 
  
б) 1. Включают насос и проверяют количество воды и напор. 
2. Выключают насос и меняют две фазы на электродвигателе. У электродвигателей для пуска по схеме ‛звезда -треугольник‛ нужно поменять клеммы U1 на V1 и U2 на V2. 
3. Включают насос и проверяют количество подаваемой воды и напор. 
4. Выключают насос. 
5. Сравнивают результаты, полученные в пунктах 1 и 3. То направление вращения, при котором получается большее количество подаваемой воды и напор, является правильным В случае пониженного напряжения- проверить сеть электропитания и подключить электродвигатель колодезного насоса через стабилизатор.
  
в) Отремонтировать и промыть клапаны или, если потребуется, заменить новыми. 
  
г) Прочистить или заменить напорный трубопровод . 
  
д) Вытянуть насос на поверхность, промыть или заменить  обратный клапан. 
  
е) Вытащить насос на поверхность, демонтировать и промыть, если требуется, заменить насос для воды. Промыть трубопровод системы водоснабжения. 
  
ж) Отремонтировать или заменить насос для воды. 
  
з) Проверить, отремонтировать трубопровод. 
  
и) Заменить стояк. 
  
к) Почистить сетку или заменить картридж фильтра грубой очистки. 
  
 | 
 
 
| 4. Частые включения и отключения насоса. | 
а) Слишком мала разница между значениями давления включения и отключения реле давления. 
  
б) Неправильная регулировка положения поплавкового выключателя. 
  
в) Течь или блокирование в частично открытом положении обратного клапана. 
  
г) Слишком мал объем воздуха в напорном резервуаре или в мембранном напорном гидробаке. 
  
д) Слишком мал объем напорного резервуара  или мембранного напорного гидробака. 
  
е) Повреждена мембрана мембранного напорного гидробака. 
  
ж) Перегрев электродвигателя. 
  
з) Заблокирован насос. 
  
 | 
а) Увеличить разницу значений давления включения  и отключения у реле  отключения. Однако давление отключения не должно превышать величины рабочего давления в напорном резервуаре, а давление включения должно быть настолько высоким, чтобы обеспечивалась подача воды с требуемым напором. 
  
б) Отрегулировать положение поплавкового
выключателя, обеспечив достаточный промежуток времени между включением и отключением насоса. Если невозможно изменить интервалы между отключением и включением с помощью приборов автоматики, можно снизить производительность насоса для воды за счет уменьшения проходного сечения напорного клапана. 
  
в) Вытянуть насос на поверхность. Промыть или заменить обратный клапан. 
  
г) Отрегулировать объем воздуха согласно инструкции по монтажу и эксплуатации. 
  
д) Емкость напорного резервуара или мембранного напорного бака следует увеличить путем замены его другим или подключением дополнительного резервуара. 
  
е) Проверить мембранный напорный гидробак. 
  
ж) Проверить температуру воды. 
  
з) Промыть насос и проверить свободное вращение соответствующих деталей. 
   
 | 
 
| 5. Насос не останавливается. | 
а) Поврежден поплавковый выключатель. 
  
б) Утечки в системе. 
  
 | 
 а) Заменить поплавок водяного насоса в специализированных мастерских.  
  
б) Проверить и ликвидировать утечки.  
 
  | 
 | 6. Повышенный шум при работе насоса. | 
а) Износ подшипников электродвигателя. 
  
б) Не отбалансирована гидравлическая часть насоса. 
  
в) Рабочие колёса  колодезного насоса задевают (скользят) за диффузоры. 
   
 | 
 Обратиться в специализированные мастерские. | 
 
  
   
 Перейти на вкладку "Колодезные насосы"
   
   
   
 При изготовлении данной страницы использовались материалы наших сервис-партнёров Grundfos, lowara, Водная Техника. 
   
   
   
  
  
	 | 
  |